最新文章
推荐文章
- 暂时还没有文章
新闻动态
煤粉取样器,锅炉煤粉取样器取样方法及图纸介绍?
发布时间:2021/11/12 点击次数:2495
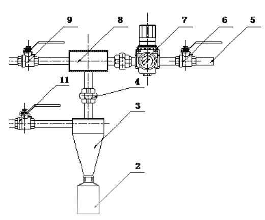
煤粉取样器,锅炉煤粉取样器取样方法及图纸介绍?煤粉取样器是连云港市宏琦公司主要生产的用于锅炉行业的环保产品,今天小编带着大家分析如何正确安装煤粉取样器。
一、煤粉取样器——吹扫:
①开启压缩空气阀,全开调压阀(调压阀向上拔出时可调)。
②关闭吹扫阀,开启取样阀,吹扫取样管道。
③关闭取样阀,开启吹扫阀,吹扫压缩空气管道。
④关闭所有阀门,取下取样瓶,将取样瓶中煤粉清理干净,重新将取样瓶放回原处。
二、煤粉取样器——取样:
①开启压缩空气阀,调整调压阀,将压缩空气压力调整为0.2Mpa。
②开启吹扫阀、取样阀,保持压缩空气压力为0.2Mpa,开始取样。
③一般2分钟取样完成,关闭所有阀门,取下取样瓶,将样品取出。
32070602010017