- 暂时还没有文章
安装在烟道内的飞灰取样器(煤粉取样器装置)结构优点,飞灰取样器(煤粉取样器装置)用于火电厂锅炉飞灰含碳量监测系统中的飞灰取样器,特别涉及一种安装在烟道内的无动力旋风分离飞灰取样器。
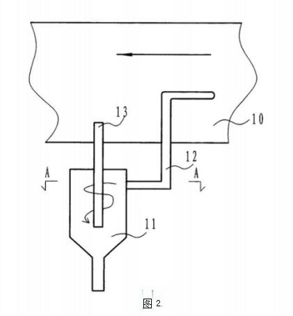
目前,国外内广泛采用的飞灰取样器(煤粉取样器装置)是一种无动力旋风分离取样器,参见图2、3,它具有一个设在烟道外的漏斗状外壳11,在该外壳的侧壁上设有一个烟气取样管12,该取样管的前端伸入烟道10,并且其入口迎对烟气流动的方向,使烟气可从取样管入口流入取样管,该取样管的尾端与外壳周壁切向相接,如图3所示,使取样管12导入外壳的烟气可沿外壳内周壁旋转行走,在该外壳中设有一个抽气管13,该抽气管的上端插入烟道10,由于烟道的负压,通过抽气管13对外壳11形成抽力,则从取样管切向进入外壳11的烟气绕着抽气管螺旋式下降,然后从抽气抽出,在该过程中,烟气中的飞灰因重力而下落,并顺外壳下端的漏斗导出,得到灰样。
这种飞灰取样器(煤粉取样器装置)存在的问题是:在安装在烟道外部,很容易常受天气温度降低的影响,久之形成堵塞。这是因为烟道中的烟气受大气潮湿或蒸汽吹扫炉膛湿气的影响,其湿度较大,因此,当天气温度低于结露温度时,其外壳11和与外壳连接的烟气取样管12及抽气管13会受冷而结露,这时飞灰和露水相混生成泥浆而板结在外壳和管道的内壁上,因飞灰中含有相当多的氧化钙(CaO)成份,它们很容易吸水生成氢氧化钙(即熟石灰),再加上烟气中大量二氧化碳的作用而生成坚硬的碳酸钙,从而增加了板结的硬度,天长日久,其板结厚度日渐增加,终完全堵死内腔,使监测无法进行。
一种安装在烟道内的无动力旋风分离飞灰取样器,从而防止飞灰取样器内结露而形成板结,克服取样器的堵塞,使飞灰取样器能长久稳定的工作而不受天气温度的影响。
为实现上述目的,飞灰取样器解决方案如下:
它具有一个上、下两端封闭的外套筒,在外套筒上部的筒壁上开有一个烟气取样入口,在外套筒中的上部设有一个穿出上封盖的抽气管,在外套筒中抽气管的下方设有一个接灰漏斗,在接灰漏斗下端连有一个导灰管,该导灰管穿出下封盖。
改进方案是:在外套筒下部的外壁上设有一个法兰结构,该法兰结构由一个固定在外套筒烟道安装孔处的法兰座和一个固联在外套筒外壁上的法兰盘及紧固螺栓构成。
通过上述解决方案可以看出,采用了一种可插入烟道的无动力旋风分离飞灰取样器结构,则烟道中的高温能有效地防止飞灰取样器内管壁的结露,从而破坏了板结形成的条件,使其不可能再形成堵塞。同时,飞灰取样器(煤粉取样器装置)还具结构简单、安装容易的优点。
附图说明
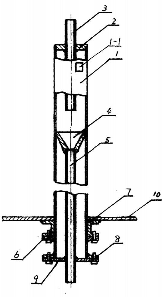
图1、飞灰取样器(煤粉取样器装置)整体结构和安装示意图。
图2、已有无动力旋风分离取样器。
图3、图2的A-A剖面示意图。
下面根据飞灰取样器(煤粉取样器装置)结构和工作原理。
参见图1、它具有一个外套筒1,在外套筒上部设有一个上封盖2,的抽气管3从上封盖插入外套筒中,并焊接固定在上封盖2上;在外套筒1上部的筒壁上开有一个烟气取样入口1-1,该烟气取样入口可以是矩形口或圆形口等;在外套筒1中抽气管3的下方设有一个接灰漏斗4,在接灰漏斗4的下端连有一个导灰管5,该导灰管5穿出下封盖9,并焊接固定在下封盖9上,外套筒的下端设有一个法兰8,下封盖9封闭外套筒1的下端口,并通过螺栓固定在法兰8上;当下封盖固定后,接灰漏斗4和导灰管5也得到径向和轴向的定位。该取样器可从烟道安装孔外插入烟道,其固定方式可采用焊接或法兰固定。法兰固定结构由设在外套筒1下部的一个法兰座7和一个法兰盘6及紧固螺栓构成,其中法兰座7焊接固定在烟道10的安装孔处,法兰盘6焊接在外套筒的外壁上。安装时,先将该飞灰取样器(煤粉取样器装置)插入烟道10,并使外套筒上部的烟气取样入口2的口面与烟气流动方向成一定夹角,然后再推进,使法兰盘6与法兰座7相接,再用螺栓固定,则该飞灰取样器被插入式固定在烟道中,这种法兰固定方式,可使飞灰取样器的安装和拆卸方便。
图中插入纸面的方向是烟气流动的方向,烟气取样入口1-1的口面好与该烟气流动方向成30°~45°夹角,这样,当烟气流动时,它可沿外套筒壁切向进入外套筒1中,同时,流动的烟气还从抽气管3的上端口水平流过,则根据流体力学的贝努里定律,外套筒内形成负压,使抽气管具有抽力,这样,切向进入外套筒中的烟气可在抽气管抽力的作用下绕着抽气管螺旋式下降,然后再通过抽气管抽出,在这一过程中,烟气中的飞灰因重力而自然下落,被接灰漏斗4收集,并通过导灰管5导出,从而完成无动力旋风分离的飞灰取样功能。由于该飞灰取样器(煤粉取样器装置)整体都安装在100℃以上的高温烟道内,因此,不会在其内壁形成结露现象,防止了板结的形成,避免了堵塞,从而保证了飞灰取样器(煤粉取样器装置)长期正常稳定的工作。
32070602010017